Smart Factory with DUKIN
发布时间:2021-08-13 类别 : 测量机 - 测量知识
• 作为功能强大的通用测量仪器,三坐标受到越来越多客户的认可和信赖。
• 三坐标测量机可以测量线性长度尺寸,包括高度、深度、距离、直径等。
• 三坐标测量机可以测量线性角度尺寸,比如角度。
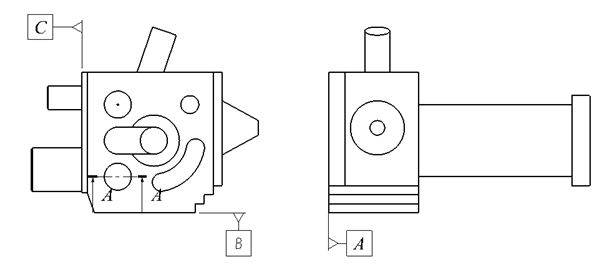
• 三坐标测量机可以测量几何公差,包括形状公差(比如平面度),方向公差(比如垂直度),位置公差(比如位置度),轮廓公差和跳动。
• 三坐标测量机有专门的测量模块,比如齿轮、涡轮、蜗杆、叶片、凸轮轴等。
• 三坐标测量机可以导入三维模型,包含常见的CATIA、UG、Pro-E、Parasolid、Inventor、Soliworks、Step、IGES等。
本章主要讲解垂直度(线相对于面)的测量步骤。









下载pdf文件